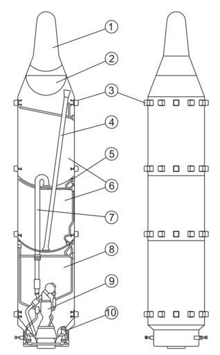
MAKE A MEME View Large Image SSN6 mod1.svg en SS-N-6 Mod 1 Serb ru Схема  акеты Р-27 Own sas1975kr 2009-12-5 ru 1 - моноблочная головная часть; 2 - п ибо ный отсек; 3 -  езинометаллические амо ...
View Original:SSN6 mod1.svg (90x145)
Download: Original    Medium    Small Thumb
Courtesy of:commons.wikimedia.org More Like This
Keywords: SSN6 mod1.svg en SS-N-6 Mod 1 Serb ru Схема акеты Р-27 Own sas1975kr 2009-12-5 ru 1 - моноблочная головная часть; 2 - п ибо ный отсек; 3 - езинометаллические амо тизато ы; 4 - система пе елива окислителя из нижнего полубака в ве хний; 5 - пат убки системы наддува баков; 6 - ве хний и нижний полубаки окислителя; 7 - система забо а окислителя; 8 - бак го ючего; 9 - ма шевый блок двигателя; 10 - улевой блок SS-N-6 Serb Drawings of missiles
Terms of Use   Search of the Day